[Français en-dessous]
The International Coalition to Ban Uranium Weapons (ICBUW), as I said, claims that “depleted” uranium is used in a limited number of weapons, that is A10 Thunderbolt machine gun bullets and tank shells. I have already provided extensive proof that this is not the case, as Dai Williams already did in the 2008 UNIDIR report on uranium weapons. But here is more.
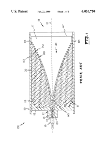
I bought these things, of course without explosive or detonating device, in a military surplus one and a half year ago, near Canjuers in France. There are neither A10 bullets nor tank shells, the above looks like an anti-tank missile (like a SNEB rocket) and the one below is a Panzerfaust 3 DM-18 UEB-RA. The official training unit for the Panzerfaust 3, according to the German Wikipedia, is the DM-10, yet the DM-18 is also listed as “Ubung”, to me it is “Uran-Explosiv Bomb” as UEB is the equivalent of WDU and WDU does not mean “dummy” but “explosive” according to Designation-Systems.com (DU actually means, as you may know, depleted uranium, and the WDU list of Designation-Systems closely follows list of weapons suspected to use depleted uranium – the Tomahawk and the ATACMS also have a WDU warhead). Also a rocket against reactive armour (UEB-RA) is even more likely to need uranium (as well as other isotopes, which could easily be hidden under the shell). In the case of the top missile, the grey ring in between the yellow part and the rusty head is exactly alike U3F6, the metallic uranium, and had the same ductility. The sintering was also very clear.

I didn’t had a Geiger counter back then, and I never had the opportunity to test them unfortunately. But while I stored them in the back of my house, I noticed a strange, very strange weather phenomenon, once the night had set. I had stored the devices in the bottom of a shower of which three walls were covered by lead, three and a half exactly, as well as the bottom, but not the top of course. Lead is known to be a good protection against radiations.

You can see PERFECTLY the shaped charge pattern in the center, just around the Moon.

It is the cloud chamber effect.
This clearly confirms that uranium is being used in missiles, and not only in a limited number of weapons, contrary to what the ICBUW claims.
This gray ribbon is highly enriched uranium, compressed powerfully at the impact to reach critical mass (increasing density lowers critical mass). So depleted uranium, while added, is NOT needed for armour piercing at all. Here’s another example :

Read my ebook for free for much more information.

*****************
L’International Coalition to Ban Uranium Weapons (ICBUW), comme je l’ai expliqué, affirme que l’uranium est utilisé dans un nombre très limité d’armes,à savoir les balles de mitrailleuse d’avion A10 Thunderbolt et des obus de tank. J’ai déjà fourni des preuves très larges (lire mon article) que ceci n’est pas le cas, comme Dai Williams l’a déjà fait dans son article de 2008 pour le rapport de l’UNIDIR publié sur le sujet des armes à uranium “appauvri” (téléchargeable ici en français).
J’ai acheté ces choses, bien sûr sans explosif ni détonateur, dans un surplus militaire français près de Canjuers il y a environ un an et demi. Il ne s’agit ni de balles de mitrailleuse d’A10 ni d’obus de tank, celui du haut est un missile de type SNEB 60 mm et celui du bas est un Panzerfaust 3 DM-18 UEB-RA (l’équivalent allemand de la WDU). UEB est selon certaines sources une munition d’entraînement mais pas son équivalent la WDU, qui est “explosive” et non “dummy” selon Designation-Systems.com. D’ailleurs il y a une autre munition d’entraînement de même catégorie, la DM-10. Pourquoi fabriquer trois types de Panzerfaust 3 différents, le DM 10, le DM 12 et le DM 18, et deux munitions d’entraînement différentes? Pourquoi pas une seule? DU signifie bien sûr depleted uranium en anglais, et UEB pourrait tout à fait signifier Uran-Explosiv Bomb (c’est même évident d’autant qu’il s’agit d’une arme destinée à abattre les blindage réactifs). Pour le missile du haut, observer l’anneau grisé, il s’agit exactement de la couleur de l’uranium appauvri métallique U3F6, et le métal était extrêmement ductile, une propriété de tous les actinides (dont l’uranium). On voyait par ailleurs très bien le frittage.

Je n’avais à l’époque malheureusement pas de Geiger, et je n’ai jamais eu l’opportunité de tester ces “choses” avec un Geiger, ce que je regrette fort. Mais néanmoins un phénomène météorologique INIMITABLE permet de rendre compte, une fois la nuit venue, qu’il y avait quelque chose de parfaitement anormal avec ces objets. J’avais stocké ces engins dans un bac à douche dont trois parois (entrée mise à part) étaient couvertes d’une plaque de plomb. Le plafond n’était bien sûr pas plombé. On sait bien que le plomb stoppe les radiations.

On distingue PARFAITEMENT la forme TRES CARACTERISTIQUE d’une charge creuse au centre de l’image, autour de la Lune.

On observe un effet chambre à brouillard.
Ceci confirme objectivement que l’uranium est utilisé dans des missiles, contrairement à ce que l’ICBUW affirme.
L’anneau gris moulé en vase est une pièce d’uranium hautement enrichi, sans laquelle l’effet antichar ne fonctionne pas car l’effet antichar dépend de la fission nucléaire uniquement et donc pas du tout de l’ajout d’uranium appauvri qui constitue bien un crime contre l’humanité, comme le disait déjà le général Gallois, “artisan de la dissuasion nucléaire française”.

Comprimer fortement cette pièce en augmente fortement la masse effective à un instant donné, pendant lequel la fission devient possible (“la masse critique est proportionnelle à l’inverse du carré de la densité”, comme le disait déjà le brevet 971 324 des explosifs à fission nucléaire).

[…] One last proof is here. […]